
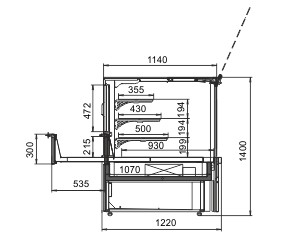
Вид и схема кондитерской витрины Missouri MC 120 patisserie OS 130-DLM


Вид и схема кондитерской витрины Missouri MC 120 patisserie OS 140-DLM

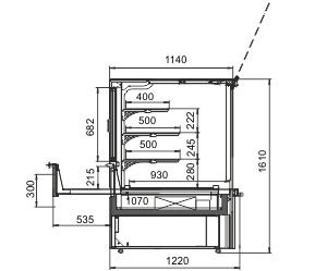
Вид и схема кондитерской витрины Missouri MC 120 patisserie OS 160-DLM


Вид и схема кондитерской витрины Missouri MC 120 patisserie PS 130-DLM


Вид и схема кондитерской витрины Missouri MC 120 patisserie PS 140-DLM

Вид и схема кондитерской витрины Missouri MC 120 patisserie PS 160-DLM


Технические характеристики кондитерской витрины Missouri MC 120 patisserie OS/PS
| Missouri MC 120 patisserie OS 130-DLM | Missouri MC 120 patisserie OS 140-DLM | Missouri MC 120 patisserie OS 160-DLM | ||||||||
| Длина без боковин | мм | 1250 | 1875* | 2500 | 1250 | 1875* | 2500 | 1250 | 1875* | 2500 |
| Толщина двух боковин | мм | 100 | 100 | 100 | ||||||
| Площадь демонстрационной части (общая) | м2 | 2,2 | 4,4 | 2,5 | 5,0 | 2,7 | 5,3 | |||
| Площадь демонстрационной части (выдвижных поддонов) | м2 | 0,93 | 1,86 | 0,93 | 1,86 | 0,93 | 1,86 | |||
| Окружающая температура | ˚С | ≤ +25 | ≤ +25 | ≤ +25 | ||||||
| Влажность | % | ≤ 60 | ≤ 60 | ≤ 60 | ||||||
| Скорость воздуха | м/с | — | — | — | ||||||
| Рабочая температура | ˚С | +4…+6 | +4…+6 | +4…+6 | ||||||
| Температурный класс | H1 | H1 | H1 | |||||||
| Missouri MC 120 patisserie PS 130-DLM | Missouri MC 120 patisserie PS 140-DLM | Missouri MC 120 patisserie PS 160-DLM | ||||||||
| Длина без боковин | мм | 1250 | 1875 | 2500 | 1250 | 1875* | 2500 | 1250 | 1875* | 2500* |
| Толщина двух боковин | мм | 100 | 100 | 100 | ||||||
| Площадь демонстрационной части (общая) | м2 | 2,2 | 3,3 | 4,4 | 2,5 | 5,0 | 2,7 | 5,3 | ||
| Площадь демонстрационной части (выдвижных поддонов) | м2 | 0,93 | 1,4 | 1,86 | 0,93 | 1,86 | 0,93 | 1,86 | ||
| Окружающая температура | ˚С | ≤ +25 | ≤ +25 | ≤ +25 | ||||||
| Влажность | % | ≤ 60 | ≤ 60 | ≤ 60 | ||||||
| Скорость воздуха | м/с | — | — | — | ||||||
| Рабочая температура | ˚С | +4…+6 | +4…+6 | +4…+6 | ||||||
| Температурный класс | H1 | H1 | H1 | |||||||
Элементы со знаком * требуют дополнительнгое согласования
Кондитерские витрины Технохолод. Производитель оставляет за собой право вносить изменения в технические характеристики.

